出品:新浪财经上市公司研究院
作者:IPO再融资组/秦勉
近日,得一微电子股份有限公司(下称“得一微”)回复了科创板第二轮问询函。公告显示,得一微间接股东中存在8名证监会系统离职人员,其中3人是在首轮问询回复后新增,而在公司递交上市申请时并未披露,保荐券商或未勤勉尽责。
作为一家拟在科创板上市的公司,得一微的研发费用、研发人员等指标虽达标,但公司却始终不能盈利且连续巨额亏损,这或不符合监管要求的“科技能力转化突出”的要求。而得一微的同行可比上市公司报告期内都盈利,且多家公司巨额盈利。此外,公司净利润数据也明显低于另外两家申报IPO的公司华澜微、联芸科技。
此外,得一微的核心产品之一——SATASSD存储控制芯片的多项技术指标被联芸科技、华澜微压制。根据现有规则,核心产品具备技术先进性也是科创属性衡量的重要标准之一。 在表述SATASSD存储控制芯片技术先进性时,得一微选择了有利于自己的可比公司,以及有利于自己的表述。
首次申报遗漏的证监会离职人员有迹可查 保荐券商是否勤勉尽责?
问询回复公告显示,得一微间接股东中存在8名证监会系统离职人员,其中王骏、罗浩彬、岳新宇三人系首轮问询回复(2023年6月30日)后新增,而这三名人员在公司递交招股书前就已经入股。换言之,得一微在2022年11月递交招股书时“遗漏”了三名应当披露的股东情况。
根据证监会2021年6月实施的《监管规则适用指引—发行类第2号》,发行人及中介机构在提交发行申请文件时,应当提交专项说明,专项说明包括“是否存在证监会系统离职人员入股的情形”。而得一微并没有充分披露所有的证监会系统离职人员,保荐券商招商证券(14.050, 0.04, 0.29%)是否进行了充分核查?
招商证券称:首次提交申报材料时,保荐机构已根据《监管规则适用指引—关于申请首发上市企业股东信息披露》等要求,遵循了勤勉尽责原则,对发行人是否存在证监会系统离职人员入股的情形进行了充分的核查。
招商证券还称,首次提交申报材料时,已通过向深圳证监局提交了证监会系统离职人员信息查询比对申请,取得并查阅了反馈。
根据公开信息可知,招商证券在向深圳证监局提交信息比对申请时,并没有提及王骏、罗浩彬、岳新宇三人。招商证券给出的理由是:王骏、罗浩彬及岳新宇的间接投资主体,也即是得一微间接股东国家中小企业发展基金有限公司(下称“中小企业基金”)系国有控股或管理主体(其第一大股东中华人民共和国财政部持股42.66%),属于《关于股东信息核查中“最终持有人”的理解与适用》(下称《“最终持有人”规定》)中规定的最终持有人,可以不再穿透,因此首次申报时未穿透核查至王骏、罗浩彬、岳新宇。
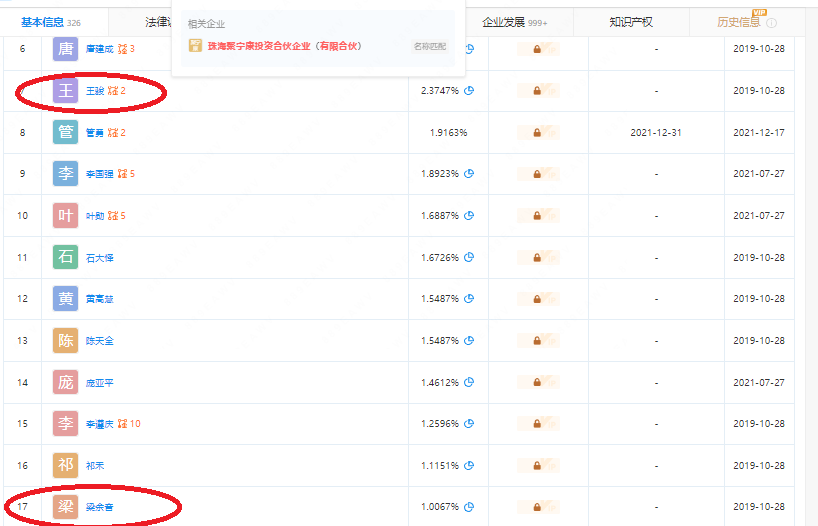
招商证券的回复存在两个疑问。一是王骏、罗浩彬、岳新宇三人的持股主体,与得一微首次递交申请材料时披露的另一位梁余音都是中小企业基金、易方达基金管理有限公司(下称“易方达”)的间接股东,且股票都来源于易方达的员工持股计划。
令人感到不解的是,既然招商证券能够核查到梁余音属于证监会系统离职人员,为何核查不到同属于易方达员工持股计划的王骏、罗浩彬、岳新宇是离职人员?尤其是,王骏、梁余音入股的还是同一家持股平台。
公告显示,2019年10月,王骏、罗浩彬、梁余音参与易方达员工持股计划;罗浩彬入股员工持股平台珠海聚弘康股权投资合伙企业,王骏、梁余音入股员工持股平台珠海聚宁康股权投资合伙企业(下称“珠海聚宁康”)。2020年11月,王骏入股员工持股平台珠海祺荣宝股权投资合伙企业,岳新宇入股员工持股平台珠海祺泰宝股权投资合伙企业。
招商证券在公告中表示,首次提交申报材料时梁余音等证监会系统离职人员的信息,即通过公开渠道检索取得。并且于2023年3月获得得一微自股东中小企业基金处取得的易方达出具的承诺函前,未在公开渠道检索到中小企业基金间接股东王骏、罗浩彬、岳新宇系证监会系统离职人员的相关信息。
既然招商证券可以从公开渠道检索得知梁余音的信息,便可知道其在珠海聚宁康间接持有得一微的股份。而通过企查查等公开工商信息显示,珠海聚宁康有一名叫王骏的股东,也就是得一微首次申报招股书遗漏的股东。

来源:企查查
由于珠海聚宁康是易方达的员工持股平台,招商证券可以通过公开渠道查到易方达员工王骏曾在广东证监局工作的信息。据易方达公告或者通过第三方数据平台信息可知:2017年6月,王骏加入易方达资产管理有限公司,历任公司副总经理、合规风控负责人、常务副总经理。2020年3月,王骏加入易方达基金管理有限公司,目前任副总经理。此前,王骏曾在证监会广东监管局、普华永道中天会计师事务所工作。

来源:wind
既可以通过易方达的公告,也可以通过wind等第三方数据平台查询,招商证券是如何做到未在公开渠道检索到王骏曾在广东证监局任职信息的?
此外,既然易方达就其员工持股平台珠海聚宁康间接持有得一微股份,招商证券可以通过易方达核查是否还有其他证监会系统离职人员持有得一微股份,但实际却没有在首次递交申报材料前去核实。
第二个疑问是,即便按照《“最终持有人”规定》,招商证券也可以最终穿透到王骏、罗浩彬、岳新宇三位自然人。《“最终持有人”规定》确实规定,国有主体控制的产业基金确实可以是最终持有人,但也可以继续穿透到自然人。换言之,《“最终持有人”规定》规定的自然人及其他非自然人,不是二选一的关系,自然人是最终持有人的最佳选项。

来源:科创板公告
尤其是,已经发现有证监会系统离职人员(梁余音)通过中小企业基金间接持有得一微股份,招商证券或应该启动最优选项继续核查小企业基金间的股东易方达,进而核查到到相关自然人。
多项技术指标落后于主要竞争对手 选择性夸大技术先进性?
根据现有监管规则,拟在科创板上市的企业,应具备关键的核心技术且技术具备先进性。而得一微的核心产品之一—— SATA SSD存储控制芯片的多项关键技术指标,落后于另外两家正在冲刺科创板IPO的联芸科技、华澜微。
如得一微 SATA SSD 存储控制芯片支持 NAND FLASH 通道的数量以及每通道可支持 NAND FLASH颗粒的数量的指标为:4CH,4CE/1CH,合计16;而联芸科技同类产品的指标可以达到4CH×8CE,合计32;华澜微S686型号的固态存储主控芯片指标为:10CH×8CE=80。得一微表示,CE及CH越高,对存储颗粒的并行管理能力越强。
再如顺序读/写性能指标,得一微 SATA SSD 存储控制芯片顺序读取速度为550MB/s,顺序写入速度为510MB/s。而联芸科技同类产品的顺序读取速度为560MB/s、顺序写入速度为530MB/s。得一微表示,顺序读取速度/写入速度越快,性能越好。
又如数据可靠性指标,得一微SATA SSD存储控制芯片,支持2KB码长的LDPC纠错;而联芸科技同类产品的指标包括Agile ECC2(2K LDPC)和RAID5,比得一微多RAID5。

来源:华澜微公告
关于数据安全性,得一微没有披露SATA SSD存储控制芯片的相关数据。在华澜微申报材料中,得一微型号为 YS9082HP的 SATA SSD存储控制芯片的安全性显示为“无”。
值得关注的是,得一微的SATA SSD存储控制芯片是公司的拳头产品、发家作品。公告显示,2022年,公司SATA SSD存储控制芯片全球市场占有率为 23.87%,而在2015年,市占率为94%。
值得关注的是,在介绍公司SATASSD存储控制芯片技术先进性时,得一微称与同行业领先企业相比产品线覆盖广、市场地位较强。比如称“公司系SATASSD存储控制芯片市场中国大陆出货量排名第一的供应商,超过联芸科技”。得一微这句话前半句虽是事实,但其只选取了一种SSD存储控制芯片的协议——SATA。目前,SATA协议是三类存储控制芯片各协议接口产品中市场规模最小的一类(0.94亿颗)。
如果将所有协议的SSD存储控制芯片都汇总,联芸科技的市占率远远超过得一微。根据CFM闪存市场出具的《2021年全球SSD市场分析报告》,2021年全球SSD控制器芯片总出货量约4.08亿颗,联芸科技的出货量为2700.85万颗,市占率为6.62%;得一微的出货量约为1300万颗,市占率约为3.19%。
又如再用表格对比公司各项参数指标时,得一微称公司SATA3.2产品的存储颗粒管理能力最优,为:4CH,4CE/1CH+16。正如上文所述,联芸科技同类产品的指标可以达到4CH×8CE,合计32;华澜微S686型号的固态存储主控芯片指标为:10CH×8CE=80,得一微的产品指标不可能是最优。

来源:得一微公告
之所以会出现“最优”,是因为得一微将群联电子、慧荣科技作为可比公司,而没有将联芸科技、华澜微作为可比公司,这样的对比或带有选择性和夸大性。
科技成果难以转化为盈利
《上海证券交易所科创板企业发行上市申报及推荐暂行规定》指出,科创板优先支持符合国家科技创新战略、拥有关键核心技术等先进技术、科技创新能力突出、科技成果转化能力突出、行业地位突出或者市场认可度高等的科技创新企业发行上市。
由此可知,科创板支持具备科技创新能力且科技成果转化能力突出的企业上市。然而得一微,虽号称产品具备技术先进性,某些产品的市占率全球第一,但公司总是难以盈利。
2019-2021年、2022年上半年,得一微分别实现营业收入1.26亿元、2.07亿元、7.45亿元、4.71亿元,分别实现归母净利润-0.84亿元、-2.93亿元、-0.68亿元、-0.36亿元。报告期内,得一微累计亏损4.81亿元。
而得一微选择的可比同行上市公司,群联电子2019-2022年的归母净利润分别为10.57亿元、20.19亿元、18.75亿元、12.28亿元,合计超52亿元;慧荣科技2019-2022年的净利润分别为4.49亿元、5.2亿元、12.75亿元、12.01亿元,合计超33亿元;点序科技2019-2022年的净利润合计超2.3亿元;江波龙(89.800, 4.47, 5.24%)2019-2022年的净利润合计约15亿元;佰维存储(70.530, 1.73, 2.51%)2019-2022年的净利润合计约2.3亿元。
不仅盈利能力弱于上市公司,在三家冲刺IPO的企业中,得一微报告期内的净利润最低,为-4.81亿元;联芸科技为-0.6亿元;华澜微为-2.67亿元。
实务中,监管部门对拟IPO企业的持续经营能力都十分关注,尤其是近期科创板多家亏损的企业撤回了IPO申请,如树根互联。难以摆脱亏损状态的得一微,科创板的IPO之路或还很漫长。
https://finance.sina.com.cn/stock/observe/2023-09-14/doc-imzmssmw7131865.shtml
作者:IPO再融资组/秦勉
近日,得一微电子股份有限公司(下称“得一微”)回复了科创板第二轮问询函。公告显示,得一微间接股东中存在8名证监会系统离职人员,其中3人是在首轮问询回复后新增,而在公司递交上市申请时并未披露,保荐券商或未勤勉尽责。
作为一家拟在科创板上市的公司,得一微的研发费用、研发人员等指标虽达标,但公司却始终不能盈利且连续巨额亏损,这或不符合监管要求的“科技能力转化突出”的要求。而得一微的同行可比上市公司报告期内都盈利,且多家公司巨额盈利。此外,公司净利润数据也明显低于另外两家申报IPO的公司华澜微、联芸科技。
此外,得一微的核心产品之一——SATASSD存储控制芯片的多项技术指标被联芸科技、华澜微压制。根据现有规则,核心产品具备技术先进性也是科创属性衡量的重要标准之一。 在表述SATASSD存储控制芯片技术先进性时,得一微选择了有利于自己的可比公司,以及有利于自己的表述。
首次申报遗漏的证监会离职人员有迹可查 保荐券商是否勤勉尽责?
问询回复公告显示,得一微间接股东中存在8名证监会系统离职人员,其中王骏、罗浩彬、岳新宇三人系首轮问询回复(2023年6月30日)后新增,而这三名人员在公司递交招股书前就已经入股。换言之,得一微在2022年11月递交招股书时“遗漏”了三名应当披露的股东情况。
根据证监会2021年6月实施的《监管规则适用指引—发行类第2号》,发行人及中介机构在提交发行申请文件时,应当提交专项说明,专项说明包括“是否存在证监会系统离职人员入股的情形”。而得一微并没有充分披露所有的证监会系统离职人员,保荐券商招商证券(14.050, 0.04, 0.29%)是否进行了充分核查?
招商证券称:首次提交申报材料时,保荐机构已根据《监管规则适用指引—关于申请首发上市企业股东信息披露》等要求,遵循了勤勉尽责原则,对发行人是否存在证监会系统离职人员入股的情形进行了充分的核查。
招商证券还称,首次提交申报材料时,已通过向深圳证监局提交了证监会系统离职人员信息查询比对申请,取得并查阅了反馈。
根据公开信息可知,招商证券在向深圳证监局提交信息比对申请时,并没有提及王骏、罗浩彬、岳新宇三人。招商证券给出的理由是:王骏、罗浩彬及岳新宇的间接投资主体,也即是得一微间接股东国家中小企业发展基金有限公司(下称“中小企业基金”)系国有控股或管理主体(其第一大股东中华人民共和国财政部持股42.66%),属于《关于股东信息核查中“最终持有人”的理解与适用》(下称《“最终持有人”规定》)中规定的最终持有人,可以不再穿透,因此首次申报时未穿透核查至王骏、罗浩彬、岳新宇。
招商证券的回复存在两个疑问。一是王骏、罗浩彬、岳新宇三人的持股主体,与得一微首次递交申请材料时披露的另一位梁余音都是中小企业基金、易方达基金管理有限公司(下称“易方达”)的间接股东,且股票都来源于易方达的员工持股计划。
令人感到不解的是,既然招商证券能够核查到梁余音属于证监会系统离职人员,为何核查不到同属于易方达员工持股计划的王骏、罗浩彬、岳新宇是离职人员?尤其是,王骏、梁余音入股的还是同一家持股平台。
公告显示,2019年10月,王骏、罗浩彬、梁余音参与易方达员工持股计划;罗浩彬入股员工持股平台珠海聚弘康股权投资合伙企业,王骏、梁余音入股员工持股平台珠海聚宁康股权投资合伙企业(下称“珠海聚宁康”)。2020年11月,王骏入股员工持股平台珠海祺荣宝股权投资合伙企业,岳新宇入股员工持股平台珠海祺泰宝股权投资合伙企业。
招商证券在公告中表示,首次提交申报材料时梁余音等证监会系统离职人员的信息,即通过公开渠道检索取得。并且于2023年3月获得得一微自股东中小企业基金处取得的易方达出具的承诺函前,未在公开渠道检索到中小企业基金间接股东王骏、罗浩彬、岳新宇系证监会系统离职人员的相关信息。
既然招商证券可以从公开渠道检索得知梁余音的信息,便可知道其在珠海聚宁康间接持有得一微的股份。而通过企查查等公开工商信息显示,珠海聚宁康有一名叫王骏的股东,也就是得一微首次申报招股书遗漏的股东。

来源:企查查
由于珠海聚宁康是易方达的员工持股平台,招商证券可以通过公开渠道查到易方达员工王骏曾在广东证监局工作的信息。据易方达公告或者通过第三方数据平台信息可知:2017年6月,王骏加入易方达资产管理有限公司,历任公司副总经理、合规风控负责人、常务副总经理。2020年3月,王骏加入易方达基金管理有限公司,目前任副总经理。此前,王骏曾在证监会广东监管局、普华永道中天会计师事务所工作。

来源:wind
既可以通过易方达的公告,也可以通过wind等第三方数据平台查询,招商证券是如何做到未在公开渠道检索到王骏曾在广东证监局任职信息的?
此外,既然易方达就其员工持股平台珠海聚宁康间接持有得一微股份,招商证券可以通过易方达核查是否还有其他证监会系统离职人员持有得一微股份,但实际却没有在首次递交申报材料前去核实。
第二个疑问是,即便按照《“最终持有人”规定》,招商证券也可以最终穿透到王骏、罗浩彬、岳新宇三位自然人。《“最终持有人”规定》确实规定,国有主体控制的产业基金确实可以是最终持有人,但也可以继续穿透到自然人。换言之,《“最终持有人”规定》规定的自然人及其他非自然人,不是二选一的关系,自然人是最终持有人的最佳选项。

来源:科创板公告
尤其是,已经发现有证监会系统离职人员(梁余音)通过中小企业基金间接持有得一微股份,招商证券或应该启动最优选项继续核查小企业基金间的股东易方达,进而核查到到相关自然人。
多项技术指标落后于主要竞争对手 选择性夸大技术先进性?
根据现有监管规则,拟在科创板上市的企业,应具备关键的核心技术且技术具备先进性。而得一微的核心产品之一—— SATA SSD存储控制芯片的多项关键技术指标,落后于另外两家正在冲刺科创板IPO的联芸科技、华澜微。
如得一微 SATA SSD 存储控制芯片支持 NAND FLASH 通道的数量以及每通道可支持 NAND FLASH颗粒的数量的指标为:4CH,4CE/1CH,合计16;而联芸科技同类产品的指标可以达到4CH×8CE,合计32;华澜微S686型号的固态存储主控芯片指标为:10CH×8CE=80。得一微表示,CE及CH越高,对存储颗粒的并行管理能力越强。
再如顺序读/写性能指标,得一微 SATA SSD 存储控制芯片顺序读取速度为550MB/s,顺序写入速度为510MB/s。而联芸科技同类产品的顺序读取速度为560MB/s、顺序写入速度为530MB/s。得一微表示,顺序读取速度/写入速度越快,性能越好。
又如数据可靠性指标,得一微SATA SSD存储控制芯片,支持2KB码长的LDPC纠错;而联芸科技同类产品的指标包括Agile ECC2(2K LDPC)和RAID5,比得一微多RAID5。

来源:华澜微公告
关于数据安全性,得一微没有披露SATA SSD存储控制芯片的相关数据。在华澜微申报材料中,得一微型号为 YS9082HP的 SATA SSD存储控制芯片的安全性显示为“无”。
值得关注的是,得一微的SATA SSD存储控制芯片是公司的拳头产品、发家作品。公告显示,2022年,公司SATA SSD存储控制芯片全球市场占有率为 23.87%,而在2015年,市占率为94%。
值得关注的是,在介绍公司SATASSD存储控制芯片技术先进性时,得一微称与同行业领先企业相比产品线覆盖广、市场地位较强。比如称“公司系SATASSD存储控制芯片市场中国大陆出货量排名第一的供应商,超过联芸科技”。得一微这句话前半句虽是事实,但其只选取了一种SSD存储控制芯片的协议——SATA。目前,SATA协议是三类存储控制芯片各协议接口产品中市场规模最小的一类(0.94亿颗)。
如果将所有协议的SSD存储控制芯片都汇总,联芸科技的市占率远远超过得一微。根据CFM闪存市场出具的《2021年全球SSD市场分析报告》,2021年全球SSD控制器芯片总出货量约4.08亿颗,联芸科技的出货量为2700.85万颗,市占率为6.62%;得一微的出货量约为1300万颗,市占率约为3.19%。
又如再用表格对比公司各项参数指标时,得一微称公司SATA3.2产品的存储颗粒管理能力最优,为:4CH,4CE/1CH+16。正如上文所述,联芸科技同类产品的指标可以达到4CH×8CE,合计32;华澜微S686型号的固态存储主控芯片指标为:10CH×8CE=80,得一微的产品指标不可能是最优。

来源:得一微公告
之所以会出现“最优”,是因为得一微将群联电子、慧荣科技作为可比公司,而没有将联芸科技、华澜微作为可比公司,这样的对比或带有选择性和夸大性。
科技成果难以转化为盈利
《上海证券交易所科创板企业发行上市申报及推荐暂行规定》指出,科创板优先支持符合国家科技创新战略、拥有关键核心技术等先进技术、科技创新能力突出、科技成果转化能力突出、行业地位突出或者市场认可度高等的科技创新企业发行上市。
由此可知,科创板支持具备科技创新能力且科技成果转化能力突出的企业上市。然而得一微,虽号称产品具备技术先进性,某些产品的市占率全球第一,但公司总是难以盈利。
2019-2021年、2022年上半年,得一微分别实现营业收入1.26亿元、2.07亿元、7.45亿元、4.71亿元,分别实现归母净利润-0.84亿元、-2.93亿元、-0.68亿元、-0.36亿元。报告期内,得一微累计亏损4.81亿元。
而得一微选择的可比同行上市公司,群联电子2019-2022年的归母净利润分别为10.57亿元、20.19亿元、18.75亿元、12.28亿元,合计超52亿元;慧荣科技2019-2022年的净利润分别为4.49亿元、5.2亿元、12.75亿元、12.01亿元,合计超33亿元;点序科技2019-2022年的净利润合计超2.3亿元;江波龙(89.800, 4.47, 5.24%)2019-2022年的净利润合计约15亿元;佰维存储(70.530, 1.73, 2.51%)2019-2022年的净利润合计约2.3亿元。
不仅盈利能力弱于上市公司,在三家冲刺IPO的企业中,得一微报告期内的净利润最低,为-4.81亿元;联芸科技为-0.6亿元;华澜微为-2.67亿元。
实务中,监管部门对拟IPO企业的持续经营能力都十分关注,尤其是近期科创板多家亏损的企业撤回了IPO申请,如树根互联。难以摆脱亏损状态的得一微,科创板的IPO之路或还很漫长。
https://finance.sina.com.cn/stock/observe/2023-09-14/doc-imzmssmw7131865.shtml